-- 31 --

Behelf zum Vermessen der inneren Steuerung


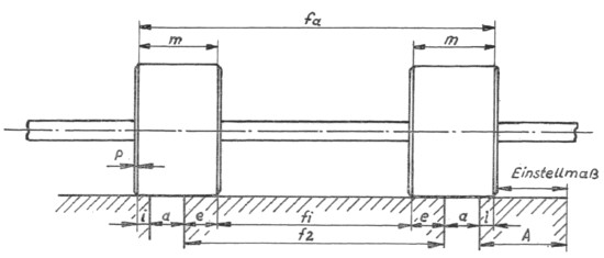
Istmaße in mm


 

Maß links hinten vorn Mitte hinten vorn rechts hinten vorn
m


fi





fa





p





e


f2





A